04179984
古スコ広場(旧”昔欲しかった天体望遠鏡”)アーカイブ
こちらには投稿できませんが、データベースとして活用ください

[HPトップ] [曇天会議] [新着] [目次] [ワード検索] [過去ログ] [管理用]
本掲示板の運用を終了いたします   さすがNKミラー   [業務連絡]第1回 曇天の集い Online Live   ミザールのSP赤道儀   冨岡光学研究所   [業務連絡] ★新掲示板に移動お願いします★   TS式80mmアポクロマート屈折   ケンコー WT-80   松江市 天体望遠鏡の譲渡について   SAT-75 島津製作所   LJマーク    Cloudy Nights Classic Telescope Forum at NEAF   東邦光学工業株式会社   ビクセンファインダーの固着   「5pに外れなし」は真実か?   不可解。島津製作所製天体望遠鏡   今さらながらなんですがミザールH-100   知らなんだ。国外では大人気だった山本製作所   西村15cm反射経緯台   4cm屈折の見え味   禁断の114mmクラブ   ニコン6.5cm屈折赤道儀   パノップ 復活   エイコー5pシングル   アイピースケース   最大の謎 Vega   3TK>3B<クリアー光学   古スコのファインダーで遊ぶ   理科教材社→JSOの謎   トイ古スコ   セレストロン8   足立光学の経緯台部品   古スコ改造   大一光学Libra   贅沢な小型望遠鏡   【アストロ光学(株)その11】 アストロ光学(株)の光芒   Danchyka   関西光学のミラー   ダウエル部品   五藤の双眼鏡
 新着の期間  [全ページの表示] [新着一覧
新規投稿欄はページの一番下です。


スリービーチ スーパーチビテレ60  投稿者: ようかん 投稿日:2019/11/22(Fri) 22:26 No.12091   HomePage

はじめまして。
こちらのサイトはちょくちょく拝見させてただいていましたが、BBSへの投稿は初めてになります。
今年(2019年)3月にヤフオクでスーパーチビテレ60を入手しました。
1980年ごろ中学生だった私が欲しかった天体望遠鏡の一つでしたが、結局手に入れることはできないまま約40年、ずっと心の片隅にあり、こちらのサイトの展示室の写真や資料室のカタログなどを眺めながら思いを募らせていたところ、オークションで程度のよさそうなものを発見、無事落札して実物を手にしたときは感慨ひとしおでした。
いろいろ物議のあるメーカーでしたので、パンドラの箱を開けるような気持ちで開封してみると、実物は意外にもしっかりとしたつくり込みで光学性能も期待以上で驚きました。
色収差はアクロマートレンズなので仕方がありませんが、天体の観望には支障がないレベルです。
有効最高倍率の120倍はもちろん、過剰倍率の200倍程度でもしっかりと結像して離角2秒台の二重星(こと座のダブルダブルなど)も分離しますから十分優秀ではないでしょうか。
当時のスリービーチが相当の気合を入れて世に送り出した製品であるということが良くわかります。

スーパーチビテレ60で撮影した月面写真を参考にアップしますのでご笑覧下さい。





Re: スリービーチ スーパーチビテレ60   もも - 2019/11/22(Fri) 22:34 No.12092

ガラクマさま、皆様。
こんばんわ、ももで〜す。
>>ようかんさま
凄い!としか言いようがありませんね!




Re: スリービーチ スーパーチビテレ60   ガラクマ - 2019/11/23(Sat) 00:28 No.12093

garakuma.gif ようかん様
はじめまして。今後ともよろしくお願いいたします。

月の画像、素晴らしいですね。
このような短焦点は、ファインダー用とか、双眼鏡の対物レンズを流用したものかと思っておりました。
実際、低倍率でしたら、安い双眼鏡をばらして対物レンズを流用しても案外見えます。

スーパーチビテレは、専用設計として作られていた稀少な短焦点対物レンズなんでしょうね。
同社のスタンダードな赤道儀式のF15とかとあまり変わらない価格で販売しても、そこそこ売れていたようです。
需要はあったんですね。
先日、おこしになった有名な天文同好会のベテランのご婦人も、昔欲しかったと行ってらっしゃいました。
貴重な文化遺産と思います。




Re: スリービーチ スーパーチビテレ60   エド - 2019/11/23(Sat) 22:10 No.12095

ようかん様

面白い投稿、ありがとうございます。

こんな短焦点6センチで、こと座εを完全分離するなんて!すごいですね。

当時、免許も車も持たず、電車移動で苦労した自分としては、
F10以下の優秀な対物レンズがあれば自作したいと考えていました。
時代が下って、少し以前にシンタ製のF5の10センチと12センチが一世を風靡しましたが、
これら極短焦点のアクロマートはどのように補正(修正研磨?)されているのか知りたいところです。
吉田正太郎先生の本にも、短焦点対物では諸収差が増大するのは不可避のように書かれていますし、
ガラクマさんのように、双眼鏡やファインダー用の対物レンズに高倍率を掛けても、
全く使い物にならないことは、だれもが経験済みですよね。
ひょっとして、この正式なチビテレは意外にもそのへんをちゃんとやっていたという、
いまさらながらの大発見?になるかもしれませんね。




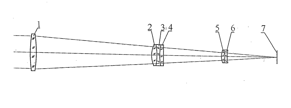
Re: スリービーチ スーパーチビテレ60   青色つきこ - 2019/11/23(Sat) 22:37 No.12096

みなさま、こんばんわ。

チビテレは、

@特殊な光学硝子を使用しているわけでもなく、
A対物レンズの前玉と後玉の間を広く開けてペッツパール・タイプにしているわけでもなく、

経験値とレンズの曲率の組み合わせから導き出されたものということでしょうか。

レンズ構成の図は、前玉と後玉の間隔が、あまりにも開きすぎ。これだとペッツパール・タイプ
になってしまいます。説明文では、スズ箔で開けていると書いているのに。

現在の超短焦点望遠鏡は、ボーグの55FL、36EDとか、ビクセンのFL55SSでしょうか。
いずれも、特殊なガラス素材を使用して、レンズデザインも2群2枚構成。

チビテレには、D=60mmとD=40mm(D=50mmは、どうでしたっけ)がありました。
私的には、D=40mmが良いな。

パテントは、前も載せたかもしれませんが。参考に。

Download:12096_2.pdf12096_2.pdf





Re: スリービーチ スーパーチビテレ60   - 2019/11/24(Sun) 20:41 No.12097

手元に
@6cmのセット(FL=260mm 分離玉 素通しファインダー欠品)、
A5cmレンズのみ(FL=260mm 分離玉)、
B5cmレンズ+セル(FL=380mm)、
C4cmミニテレDX鏡筒のみ、
と揃っております。

焦点距離が同じ@6cmとA5cmは設計同一で口径だけ違う(検査治具は共通)ではないかと思います。A5cmはLV2.5mmで100倍強の倍率でお月見は・・・まあ、大丈夫かな?という感じ。

B5cmFL380mmのタイプと、C4cmは貼り合わせだったような・・・DRYBOXの山のどれかに入っているはずだが見つからない・・・焦点距離も異なるので設計も違いそう。C4cmは高倍率には耐えず、気分良く見えるのは数十倍までだったような気がします。

B5cmFL380mmは3Bの総合カタログNo.15に出ていますが、これはあまり見かけません。
http://yumarin7.sakura.ne.jp/Csiryou3.html
コプティックさんで在庫処理が沸いて出たときに入手して・・・鏡筒にならないままDRYBOXに眠っております。発掘してやらないと。


ヤフオクには常時何台か出ておるようです。@6cmとC4cmは良く見かけるが、5cmはかえってレア?
https://auctions.yahoo.co.jp/closedsearch/closedsearch/%E3%82%B9%E3%83%BC%E3%83%91%E3%83%BC%E3%83%9F%E3%83%8B%E3%83%86%E3%83%AC%E3%82%B9%E3%82%B3%E3%83%BC%E3%83%97/23632/

そういえば名古屋でM2型赤道儀に乗った6cm(バローレンズ内蔵でFL=900mm)を見ましたが・・・入手に至らず・・・




Re: スリービーチ スーパーチビテレ60   - 2019/11/25(Mon) 22:45 No.12098

ドライボックスから幾つか発掘しました。(小口径機を集めたBOXだったので似たようなのが色々)
1枚目の写真の左手前から
@3B 5cmFL=380mm貼り合わせ
Aダウエルオリオン
B3B チビテレ 6cm
Cダウエル5cm10倍ファインダー
D3B 6cmF7
E3B 5cmズーム地上望遠鏡15〜105倍
Fカートン ミニ6
です。

@の段差がついたセルは3BカタログNO.15のP8のスーパーチビテレ380のものです。
2枚目の写真で錫箔が無い、貼り合わせとわかります。

Eの地上望遠鏡の対物レンズが焦点距離260くらいで、5cmチビテレの対物と同じものです。
3枚目の写真のように大きめの錫箔がついていました。

他にチビテレ5cmのレンズをV社の筒に収めたものと、シビテレ4cmがどこかにあったはずなのですが・・・捜索中。





Re: スリービーチ スーパーチビテレ60   いろいろ - 2019/11/26(Tue) 04:40 No.12099   HomePage

私も、スリービーチの屈折系を愛用中です。
http://sr1000.syuriken.jp/3beach500.html
反射系はどんなものだったか?
ヤシオ鏡が気になります。




Re: スリービーチ スーパーチビテレ60   - 2019/11/26(Tue) 23:53 No.12100

いろいろさん、こんばんわ。私も3B屈折系は色々持ってます。1枚目の写真の左手前から
@5cmFL=260mmスーパーチビテレレンズ(筒とセルはV社)
Aワイドコンバーター セミフイッシュアイ PANA
B200mmF4.5
C135mmF2.8
D35mmF2.8
E400mm6.3
F500mmF8
G600〜1000mmF9.9〜16ズーム
です。F500mmF8は後群レンズが曇ってしまい、E400mmF6.3も曇り始めています。耐候性の低い高屈折率レンズを用いているようです。Gのズームを含めてシャープネスは写真用としては許容できますが、望遠鏡にはちょっと足りない水準です。
D35mmf2.8には「Kimura.Co」と刻印があり、「わが国の双眼鏡製造技術の発達史」
https://www.kahaku.go.jp/research/publication/sci_engineer/download/31/BNMNS_E3104.pdf
に「木村光学工業」「木村光学製作所」とか双眼鏡を製造していた光学会社の名前が出ているので、これらのいずれかであろうと思っています。

反射に関しては今年の夏に10cmF12という物干し竿を手に入れましたが、これは意外と良く見えます。驚きでした。ヤシオは謎ですね。





Re: スリービーチ スーパーチビテレ60   いろいろ - 2019/11/27(Wed) 01:11 No.12101   HomePage

原さんのコレクション、凄いです。スリービーチは、天文少年に夢をくれたメーカーでした。
私が使っている600mmF12(改造してF15)は21世紀の製品ですが、色収差が多いのがネックでした。
1群2枚の前群レンズにバローレンズを組み合わせたような光学系です。前群レンズのみの焦点距離を測ると、300mmもない短焦点でびっくりしました。





Re: スリービーチ スーパーチビテレ60   ようかん - 2019/11/28(Thu) 20:32 No.12103   HomePage

皆さんこんにちは。
皆さんいろいろな機材や知見をお持ちで大変勉強になります。
スーパーチビテレの広告に「レンズ特許申請中」とありましたが、その申請内容を見られる時が来るとは感動です。
2ページ目右下の見え味を記載した部分、ちょっと良く書きすぎのような気もしますが、実際に使った印象に近いです。





Re: スリービーチ スーパーチビテレ60   エド - 2019/11/29(Fri) 00:07 No.12105

皆様 こんばんは。

青色つきこさんの示してくれた特許公開文から、このチビテレの対物レンズは
よくあるBK7&F2のフランフォーフェル型アクロマートではなく、
BK7&SF**のようです。
吉田正太郎先生が本の中で、SF58を使用した2枚玉対物レンズの可能を示唆されており、
また、2枚玉でも収差を良好に補正する方法が70〜80年代にかけて
さかんに研究されていたと書かれています。
(屈折率はF2<SF**です。“重フリント”って言うんですかね)

前玉と後玉の曲率(R2とR3)の差も、フランフォーフェル型に比べると明らかに大きめで、
かつ、レンズ間距離(d2)も確かに大きめですね。
中心部で0.09mmではニュートンリングは絶対見えないでしょうね。
さらに錫箔の厚みをざっと計算すると、チビテレ60の場合で0.8mm程度になり、
錫箔というより、錫板という感じになるハズですが、実物はどうでしょうか?

*青色つきこさま いつも貴重な特許情報ありがとうございます。
 特許申請は両刃の刃という良い例で、秘密が全部そこに書いてありますね。

この新設計レンズを使った“正規のチビテレ”と、
単に短焦点のフランフォーフェル型アクロマートを使った“後追品”では
まったく光学性能が違うかもですね。。。




Re: スリービーチ スーパーチビテレ60   - 2019/11/29(Fri) 22:01 No.12106

手持ちの3本の反射光を見てみました。
3本ともカビカビのジャンクを安く買ってきたものなのでコートのムラはご愛嬌。
左から
@スーパーチビテレ60
A50mmズーム地上望遠鏡だが50mmFL=260mm?
B50mmFL=260mmレンズのみ購入しV社セルへ収めたもの
3本ともニュートンリングが見えています。設計を変えたんでしょうかね?
特許も出願はしているけど権利として成立していませんし(添付PDF参照)、まあ、設計要素の範囲であって権利付与はありえないでしょう。(材料限定なく、実施要件未達・・・これでは)

手元のレンズでは、カートンのミニ6は金属スペーサーのようです。
昔のファミスコ、ボーグ、ユニトロンの短焦点アクロマートはSF5あたりの重フリントだったはずです。

Download:12106_2.pdf12106_2.pdf





Re: スリービーチ スーパーチビテレ60   エド - 2019/11/29(Fri) 23:25 No.12107

皆様 こんばんは。

原さま たびたびの写真、ありがとうございます。
なんだか普通にニュートンリングが見えてますね。
錫箔も厚みを感じませんね。
実際の製品は、その特許請求内容とは違っているということですね。

特許申請拒絶情報もありがとうございます。
 
なんか不思議であり、ちょっぴり残念でもあります。
謎が解けないのははがゆいですね。。。




Re: スリービーチ スーパーチビテレ60   - 2019/11/30(Sat) 21:01 No.12109

EDガラスが安くなったとはいえ、紫外域での透過率を稼ごうと思うと重フリント系は使えないとか、EDは柔らかく熱衝撃/物理衝撃/腐食劣化に弱い等の問題は今もあります。異常分散ガラスを使わないで収差補正する試みは延々と行われていています。

十数年前に読んだ論文の設計例をアレンジしたものですが、BK7-F2を5枚用いて70mmF9でエアリーディスク内にg線までほぼ収まっています。(コマは補正されてませんし、倍率の色収差も駄目です。惑星スペシャルですな)
この設計はアクロマートレンズの前にマクストフ補正レンズを置き、レデューサーで短焦点化した・・・ような構成です。
他にも設計例があったのですがファイルが見つからない(汗)





Re: スリービーチ スーパーチビテレ60   ようかん - 2019/12/06(Fri) 01:27 No.12119   HomePage

皆様、こんばんは。

>原様
素材や設計のパラメータの組み合わせで目的に対する最適解を探る…という感じでしょうか。
こういった設計を簡単に実体化できるような方法があったら楽しいでしょうね。

私が所有するスーパーチビテレ60も原様所有のものとニュートンリングの出方が同じです。
スーパーチビテレの発売は特許出願よりも後の時期なので、設計が変わっているのかも…。




Re: スリービーチ スーパーチビテレ60   - 2019/12/06(Fri) 23:13 No.12120

レンズ間のギャップが広いとニュートンリングが見えなくなります。このため芯出しがずれても消費者には分からなくなるので歩留まりが上がる。(ひでえ話)そこで小口径の廉価版で採用が進んだ・・・という事情があります。3Bのスーパーチビテレは逆にニュートンリングが見える設計に戻したのですから、芯出しをちゃんとやって性能を担保した・・・という事かもしれません。




Re: スリービーチ スーパーチビテレ60   ようかん - 2019/12/07(Sat) 00:08 No.12121   HomePage

>原様
安価なアクロマートレンズが錫箔ではなく、厚手のフィルムのようなものをスペーサーにしているのを見かけますが、そういうことだったのですか。長焦点だとそれでもごまかせたりするのかも知れませんね。
スーパーチビテレのニュートンリングはレンズの中心で、ゆがみもないように見えますので、そのあたりしっかり作られているようです。




Re: スリービーチ スーパーチビテレ60   fmasa - 2019/12/13(Fri) 00:58 No.12125

EDレンズを使わないで収差補正を狙った光学系だとTALのAPOLARという3群6枚のアポクロマートがありました。この光学系は2006年6月にロシアから特許が出されています。
https://patentscope2.wipo.int/search/en/detail.jsf?docId=WO2008002188&recNum=1&docAn=RU2007000305&queryString=WO2008002188&maxRec=1

メーカによると125 APOLARは2種類の光学ガラスを使用していると説明していますが、イタリアの愛好家の考察ではBK7とF2を使ったものではないかとのことです。
http://www.astrotest.it/test-reports/apochromats/rifrattore-tal-apolar-125/

TAL 125 APOLARを詳細に検査し分析をした記事を見ると、レンズのコリメーションに不具合があったので調整を行った結果、横方向の色誤差は元の約1/3に減少し実視観測では認識出来ないレベルになったそうです。APM-LZOS 130/1200とのサイドバイサイドも行なっており、木星と月を188倍、太陽も171倍で比較しても違いは分からなかったそうです。
http://www.astrotreff.de/topic.asp?ARCHIVE=true&TOPIC_ID=109160

それにしてもこんな独特で組み立て調整が面倒そうな光学系をよくぞ製品化したものです。





Re: スリービーチ スーパーチビテレ60   - 2019/12/13(Fri) 21:55 No.12126

私の出した事例はウクライナから特許出願されて、Applied Opticsに掲載されたものです。特許出願番号はWO2006091181で出願は2005年で、たぶんこの種の中では1番古いかも?こちらは設計の数字も出ているので光学ソフトでシミュレーションできます。Fを暗くしてちょっと再計算すれば10cm以上でもそこそこ行けそう。以下のリンク先で見ると10cmF5.5の例まで出ていますが、セミアポ級の設計です。
http://translationportal.epo.org/emtp/translate/?ACTION=description-retrieval&COUNTRY=WO&ENGINE=google&FORMAT=docdb&KIND=A1&LOCALE=en_EP&NUMBER=2006091181&OPS=ops.epo.org/3.2&SRCLANG=en&TRGLANG=ja

似たような設計はUS20160147059でもあって、こちらは図面で色収差補正の考え方が示されています。

EDガラスが高価だった時代なら価値を持ったはずですが、6枚磨いて検査して調整して・・・人件費が安い国で無いと全然ペイしません。面の滑らかさも2枚玉の3倍必要ですし・・・旧ガラスでないと作れないメートル級大口径ならともかく、10cmくらいまでなら安いEDガラスの2枚玉の方が良さそうです。

Download:12126_1.pdf12126_1.pdf Download:12126_2.pdf12126_2.pdf





Re: スリービーチ スーパーチビテレ60   スークー - 2020/01/18(Sat) 11:51 No.12146

スーパーチビテレ流れで、ちょっと横入りさせてください。

先日、この3B製6pミニ望遠鏡をある方からいただきました。
資料館の3Bのカタログに出ている製品でした。
焦点距離300oの超短焦点ですが、ちゃんと錫箔が入っている分離型です。(スーパーチビテレ60はカタログの時期により260oと300oがあるようです)
この製品は、チビテレ系のレンズなのでしょうか。だとしたら、カタログにその旨書かれるはず。
そうではなく、ただの駄レンズだとしたら、あまり他では見られないスペックです。

見え味は・・・
さほどよいとは思えませんが、そもそも私、スーパーチビテレの像を見たことがないので、比較できないのです。

これと同じ物をお持ちの方(結構いると思いますが)、お話をお聴かせください。





Re: スリービーチ スーパーチビテレ60   - 2020/02/02(Sun) 17:02 No.12148

ジャックBOXを調べましたが3B-6cmで300mmは見つからず。手元の4cmが出てきたので、ちょっと見比べをしてみました。
写真は上から
(1)コルキット4cmスピカ(部品が足りないという事で330円のジャンクで入手)の前半分とペンシルBORGパーツの組み合わせ品。ボーグパーツは昨年11月に長居自然史博物館イベントで500円くらいで入手したジャンク品。天頂ミラーはウイリアムオプティクスのヘリコイド付き。スピカの鏡筒内径が38mmで、36.4mm延長筒の外径と同じで、差し込むだけで完成。
(2)3B-5cmF380mm貼り合わせアクロマート+ミニボーグパーツ。これもボーグパーツは昨年11月に長居自然史博物館イベントで1000円くらいで入手したジャンク品。リングとヘリコイド類は保有品からチョイス。対物レンズの雌ネジとボーグのオスネジが一致し、ネジ込むだけで完成。
(3)3B純正6cmf260mmと(4)4cmF220mmの2機種。
これらを100倍前後でお月見しました。(1)(2)はOr4、(3)(4)はペンタXO2.5を使用。


結論としては
(4)3B-4cmF220mmは貼り合わせで他より数段落ち。実用倍率は50倍くらいに留めたほうが無難。色収差も他より大きい。
(3)3B−6cmはFが明るい割には善戦。カートンの6cmF6ミニテレ6あたりと比べるとやや落ちる気もする。
(2)3B-5cmF380mmは色収差が目立つが100倍まではOK。
(1)コルキットは貼り合わせで、ニュートンリングが中心からずれて見えていたのですが、お月見くらいでは影響なし。100倍くらいはOKで、初心者向けレンズとしては優秀。

といった感じ。貼り合わせは軸出しは消費者側で不要で安定している反面、収差面では不利な印象です。





Re: スリービーチ スーパーチビテレ60   CharlieB - 2020/07/07(Tue) 06:53 No.12378

私は最近、これら2つの3Beach望遠鏡を見つけました。彼らは短焦点距離望遠鏡のための非常に良い光学系を持っています。 220には、すべての内容物とケースが付属しています。 260は、鏡筒と地上波ビューアのみでした。でダブルパスオートコリメーションテストを実行しました。結果は次のとおりです。 60mm f / 4.3および40mm f / 5.5に最適です。



[直接移動] [1] [2] [3] [4] [5] [6] [7] [8] [9] [10] [11] [12] [13] [14] [15] [16] [17] [18] [19] [20] [21] [22] [23] [24] [25] [26] [27] [28] [29] [30] [31] [32] [33] [34] [35] [36] [37] [38] [39] [40] [41] [42] [43] [44] [45] [46] [47] [48] [49] [50] [51] [52] [53] [54] [55] [56] [57] [58] [59] [60] [61] [62] [63] [64] [65] [66] [67] [68] [69] [70] [71] [72] [73] [74] [75] [76] [77] [78] [79] [80] [81] [82] [83] [84] [85] [86] [87] [88] [89] [90] [91] [92] [93] [94] [95] [96] [97] [98] [99] [100] [101] [102] [103] [104] [105] [106] [107] [108] [109] [110] [111] [112] [113] [114] [115] [116] [117] [118] [119] [120] [121] [122] [123] [124] [125] [126] [127] [128] [129] [130] [131] [132] [133] [134] [135] [136] [137] [138] [139] [140] [141] [142] [143] [144] [145] [146] [147] [148] [149] [150] [151] [152] [153] [154] [155] [156] [157] [158] [159] [160] [161] [162] [163] [164] [165] [166] [167] [168] [169] [170] [171] [172] [173] [174] [175] [176] [177] [178] [179] [180] [181] [182] [183] [184] [185] [186] [187] [188] [189] [190] [191] [192] [193] [194] [195] [196] [197] [198] [199] [200] [201] [202] [203] [204] [205] [206] [207] [208] [209] [210] [211] [212] [213] [214] [215] [216] [217] [218] [219] [220] [221] [222] [223] [224] [225] [226] [227] [228] [229] [230] [231] [232] [233] [234] [235] [236] [237] [238] [239] [240] [241] [242] [243] [244] [245] [246] [247] [248] [249] [250] [251] [252] [253] [254] [255] [256] [257] [258] [259] [260] [261] [262] [263] [264] [265] [266] [267] [268] [269] [270] [271] [272] [273] [274] [275] [276] [277] [278] [279] [280] [281] [282] [283] [284] [285] [286] [287] [288] [289] [290] [291] [292] [293] [294] [295] [296] [297] [298] [299] [300] [301] [302] [303] [304] [305] [306] [307] [308] [309] [310] [311] [312] [313] [314] [315] [316] [317] [318] [319] [320] [321] [322] [323] [324] [325] [326] [327] [328] [329] [330] [331] [332] [333] [334] [335] [336] [337] [338] [339] [340] [341] [342] [343] [344] [345] [346] [347] [348] [349] [350] [351] [352] [353] [354] [355] [356] [357] [358] [359] [360] [361] [362] [363] [364] [365] [366] [367] [368] [369] [370] [371] [372] [373] [374] [375] [376] [377] [378] [379] [380] [381] [382] [383] [384] [385] [386] [387] [388] [389] [390] [391] [392] [393] [394] [395] [396] [397] [398] [399] [400] [401] [402] [403] [404] [405] [406] [407] [408] [409] [410] [411] [412] [413] [414] [415] [416] [417] [418] [419] [420] [421] [422] [423] [424] [425] [426] [427] [428] [429] [430] [431] [432] [433] [434] [435] [436] [437] [438] [439] [440] [441] [442] [443] [444] [445] [446] [447] [448] [449] [450] [451] [452] [453] [454] [455] [456] [457] [458] [459] [460] [461] [462] [463] [464] [465] [466] [467] [468] [469] [470] [471] [472] [473] [474] [475] [476] [477] [478] [479] [480] [481] [482] [483] [484] [485] [486] [487] [488] [489] [490] [491] [492] [493] [494] [495] [496] [497] [498] [499] [500] [501] [502] [503] [504] [505] [506] [507] [508] [509] [510] [511] [512] [513] [514] [515] [516] [517] [518] [519] [520] [521] [522] [523] [524] [525] [526] [527] [528] [529] [530] [531] [532] [533] [534] [535] [536] [537]
投稿画像の表示サイズを変更できます
管理者用

- Joyful Note -
- JOYFULYY v2.50y24m71 :Edit by Yamamoto -